desta@desta.sk
0948 88 55 01
Slovenský jazykNemecký jazykAnglický jazy
Fulltextové vyhladávanie
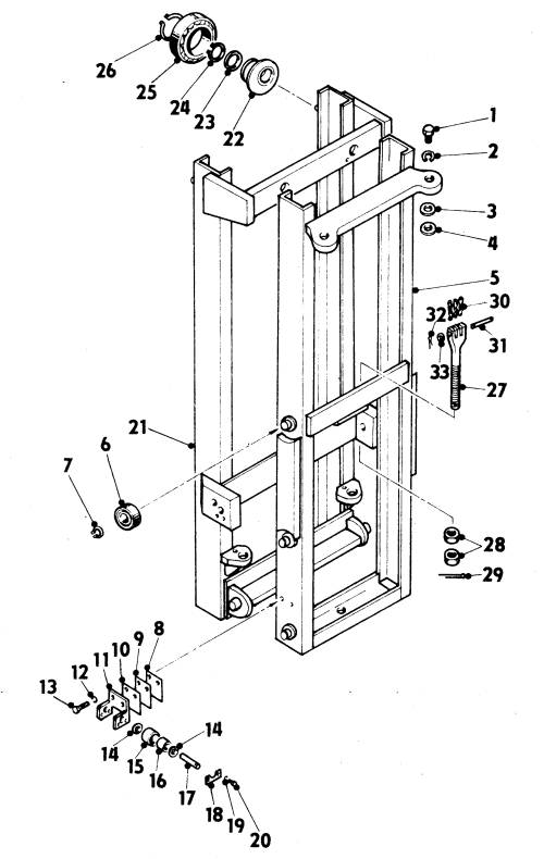
Zdvíhacie zariadenie AV16-20A 2
Zobrazenie náhradných dielov
Pozícia
Názov
Kat. číslo
Množstvo podľa modelu
Norma
 
01 
 
 
Skrutka
02 
31047 
ČSN 02 1740.55
 
Podložka 16
03 
 
 
Podložka
04 
 
 
Podložka
05 
 
 
Vnútorný rám
06 
34066 
TPF 11148-71
 
Ložisko PLC 06-3
07 
31604 
ČSN 02 2930
 
Krúžok 35
08 
 
 
Doska
09 
 
 
Doska
10 
 
 
Doska
11 
 
 
Strmeň
12 
31301 
ČSN 02 1740.05
 
Podložka 10
13 
33802 
ČSN 02 1103.25
 
Skrutka M 10x25
14 
 
 
Podložka
15 
 
 
Kladka
16 
32496 
TP 42/78
 
Puzdro 1825 KU
17 
 
 
Čap
18 
 
 
Príložka
19 
31281 
ČSN 02 1740.05
 
Podložka 5
20 
31264 
ČSN 02 1103.25
 
Skrutka M 5x10
21 
 
 
Vonkajší rám
22 
 
 
Náboj
23 
 
 
Krúžok
24 
31602 
ČSN 02 2930
 
Krúžok 22
25 
32124 
ČSN 02 4629
 
Ložisko 6009 2RS
26 
36757 
ČSN 02 2930
 
Krúžok 45
27 
 
 
Skrutka
28 
33810 
ČSN 02 1401.25
 
Matica M 16
29 
31058 
ČSN 02 1781.05
 
Závlačka 4x25
30 
35743 
CV 6.74.24.00
 
Reťaz 19.05 4 +4 55 článku
Počet nájdených: 33 (Zobrazené 1 až 30)
Náhradné diely