desta@desta.sk
0948 88 55 01
Slovenský jazykNemecký jazykAnglický jazy
Fulltextové vyhladávanie
DESTA DV 20-35 C
Zobrazenie náhradných dielov
Pozícia
Názov
Kat. číslo
Množstvo podľa modelu
Norma
 
 
4-09702-25 
 
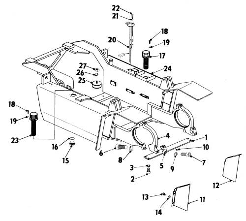
Montáž rámu
00 
2-09702-24 
 
Automatická ruční brzda kompl.
00 
2-08645-06 
 
Diferenciál
00 
0-09421-68 
 
Hnací blok kompl.
00 
0-09421-70 
 
Hnací blok kompl.
00 
0-08420-67 
 
Hnací náprava kompl.
00 
0-08420-66 
 
Hnací náprava kompl.
00 
2-08903-26 
 
Hydraulický válec servořízení
00 
2-08901-92 
 
Hydraulický válec sklopný levý
00 
2-08901-91 
 
Hydraulický válec sklopný pravý
00 
2-08898-59 
3,3 m
 
Hydraulický válec zdvihací
00 
2-08898-60 
3,3 m
 
Hydraulický válec zdvihací
00 
2-09520-21 
M 300.12 kompl.
 
Měnič
00 
0-09707-47 
 
Montáž
00 
0-09707-41 
 
Montáž
00 
0-09707-43 
 
Montáž
00 
0-09707-45 
 
Montáž
00 
1-09522-07 
 
Náhon čerpadel kompl.
00 
1-09522-12 
 
Náhon čerpadel kompl.
00 
0-08922-28 
 
Ochranná stříška
00 
1-09785-95 
 
Olejový rozváděč
00 
0-08511-09 
 
Podlaha kompl.
00 
0-08430-56 
 
Převodová skříň kompl.
00 
 
2 555 - 0014
 
Rozváděč - blok kompl.
00 
0-08540-59 
 
Řídící náprava
00 
0-08540-60 
 
Řídící náprava
00 
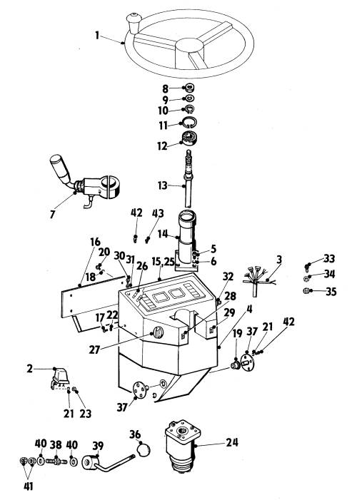
1-08502-61 
 
Sloupek řízení
00 
0-08813-28 
 
Vedení tlakového oleje - prac. hydr.
00 
0-08813-27 
 
Vedení tlakového oleje kompl.
00 
4-08850-73 
 
Ventil
Počet nájdených: 1331 (Zobrazené 1 až 30)