desta@desta.sk
0948 88 55 01
Slovenský jazykNemecký jazykAnglický jazy
Fulltextové vyhladávanie
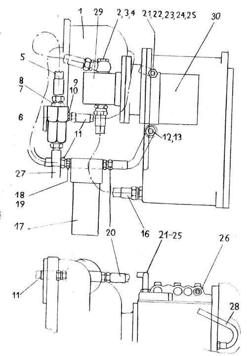
Rozvod oleja pre pojazd vozíka
Zobrazenie náhradných dielov
Pozícia
Názov
Kat. číslo
Množstvo podľa modelu
Norma
 
01 
tab. 9 pos. 20-46 
 
Náhon čerpadel
02 
4-4022-00 
 
Hrdlo
03 
4-00130-10 
 
Šroub
04 
 
PN 02 9310.2
 
Těsnící kroužek 22x27
05 
 
PNT 02 8406
 
Hadice 16x260
05 
 
TPF 01-8574-76
 
Hadice 16x400
06 
3-08850-01 
 
Ventil servořízení kompl.
07 
4-04021-04 
 
Hrdlo
08 
 
ČSN 02 9310.2
 
Těsnící kroužek 22x27
09 
 
ČSN 13 7851.12
 
Hrdlo k zašroubování 13
10 
 
ČSN 02 9310.2
 
Těsnící kroužek 18x24
11 
 
TPF 01-8601-77
 
Hadice Js 12x1400
11 
 
PNT 02 8406
 
Hadice Js 12x1400
12 
tab. 8 pos. 36 
 
Těsnící kroužek
13 
tab. 8 pos. 35 
 
Hrdlo
14 
 
ČSN 02 9310.2
 
Těsnící kroužek 27x32
15 
3-04021-34 
 
Hrdlo
16 
 
ČSN 13 7821.1
 
Hadice 20x560
17 
tab.12 pos. 1 
FASP 16-12-8
 
Čistič oleje
18 
4-04021-27 
tab. 7 pos. 3
 
Hrdlo
19 
tab. 7 pos. 4 
5 DSN 4204-04
 
Těsnící kroužek 22x27
20 
 
TPF 01-8601-77
 
Hadice Js 12x1250
20 
 
PNT 02 8406
 
Hadice Js 12x1250
21 
4-08862-09 
 
Rozbočka
22 
tab. 18 pos. 21 
 
Čidlo el. teploměru
23 
tab. 18 pos. 54 
ČSN 02 9310.2
 
Těsnící kroužek 14x18
24 
4-04083-01 
tab. 8 pos. 41
 
Redukční spojka
25 
tab. 8 pos. 42 
5 DSN 4204-22
 
Těsnící kroužek 18x24
26 
tab. 8 
 
Rozváděč
27 
tab. 26 pos. 21 
PNT 02 8406
 
Hadice Js 10x1120
Počet nájdených: 33 (Zobrazené 1 až 30)