desta@desta.sk
0948 88 55 01
Slovenský jazykNemecký jazykAnglický jazy
Fulltextové vyhladávanie
DESTA MV 12B,15,16
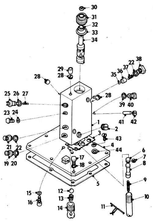
Zobrazenie náhradných dielov
Pozícia
Názov
Kat. číslo
Množstvo podľa modelu
Norma
 
02 
 
ČSN 02 1403.25
 
Matice M 16x1,5
02 
4-01081-02 
 
Nýt
02 
3-01415-35 
zBC 10-S2-1
 
Páka
02 
4-00904-16 
 
Podložka
02 
 
ČSN 02 1740.01
 
Podložka 16
02 
 
ČSN 02 1702.15
 
Podložka 8,4
02 
 
ČSN 02 1702.15
 
Podložka 8,4
02 
 
ČSN 02 2931
 
Pojistný kroužek 100
02 
 
 
Pružinová spona
02 
 
 
Přetlaková uzávěrka
02 
 
 
Přetlaková uzávěrka
02 
tab. 3.3 
 
Rozvodka
02 
tab. 9.1 pos. 31 
 
Spona
02 
4-09488-23 
 
Šlapka
02 
 
ČSN 02 1103.25
 
Šroub M 6x10
02 
 
PN 02 1151.25
 
Šroub M 6x12
02 
 
ČSN 02 1103.25
 
Šroub M 6x16
02 
 
ČSN 02 1143.55
 
Šroub M 8x12
02 
 
 
Těleso vidlice 6 pólů
02 
 
 
Těleso vidlice 6 pólů
02 
tab. 9.3 pos. 19 
 
Teploměr
02 
tab. 9.3 pos. 19 
 
Teploměr vody
02 
4-04201-14 
 
Těsnění
02 
4-4240-11 
 
Těsnění
02 
 
5 DSN 4204-03
 
Těsnící kroužek 16x22
02 
 
5 DSN 4204-04
 
Těsnící kroužek 22x27
02 
 
ČSN 02 9310.2
 
Těsnící kroužek 6x10
02 
4-04070-04 
 
Zátka
02 
 
ČSN 02 1781.05
 
Závlačka 2x16
03 
4-03144-31 
 
Čep
Počet nájdených: 1819 (Zobrazené 121 až 150)