desta@desta.sk
0948 88 55 01
Slovenský jazykNemecký jazykAnglický jazy
Fulltextové vyhladávanie
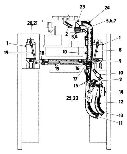
Vedenie tlakového oleja pracovná hydraulika MV16
Zobrazenie náhradných dielov
Pozícia
Názov
Kat. číslo
Množstvo podľa modelu
Norma
 
02 
 
TPF 01-8639-80
 
Hadice 16x1000
03 
3-04021-37 
 
Hrdlo
04 
 
5 DSN 4204-10
 
Těsnící kroužek 33x39
05 
 
5 DSN 4204-27
 
Těsnící kroužek 27x32
06 
4-08845-37 
 
Trubka
07 
4-00130-15 
 
Šroub
08 
3-08845-48 
 
Trubka
09 
4-08845-35 
 
Trubka
10 
 
TPF 01-8639-80
 
Hadice 16x630
11 
 
 
Spona 32-50
12 
B.V. 07377-79 
 
Hadice 25/36-600
13 
 
 
Spona 25-40
14 
tab. 11.1 
 
Olejový rozváděč
15 
 
TPF 01-8639-80
 
Hadice 8x400
16 
4-08846-07 
 
Trubka
17 
4-08860-08 
 
Rozbočka
18 
4-08845-46 
 
Trubka
19 
3-08845-47 
 
Trubka
20 
3-0130-02 
 
Šroub
21 
 
5 DSN 4204-03
 
Těsnící kroužek 16x22
22 
tab. 15.5 
 
Ventil
23 
4-08832-62 
 
Trubka
24 
B.V. 07377-78 
 
Hadice 32/43-1300
25 
 
5 DSN 4204-34
 
Těsnící kroužek 24x30
Počet nájdených: 24 (Zobrazené 1 až 24)