desta@desta.sk
0948 88 55 01
Slovenský jazykNemecký jazykAnglický jazy
Fulltextové vyhladávanie
Kúrenie
Zobrazenie náhradných dielov
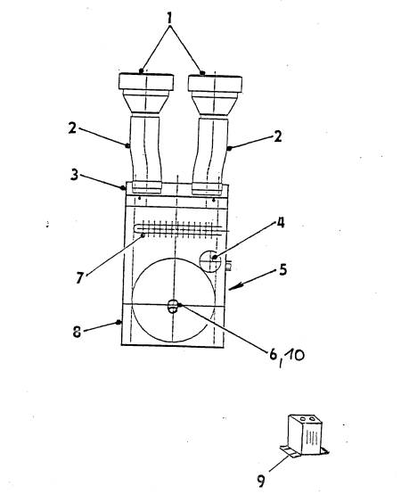
Pozícia
Názov
Kat. číslo
Množstvo podľa modelu
Norma
 
00 
5-49101-02 
48V - 600W
 
Kúrenie
00 
5-49101-01 
80V - 400W
 
Kúrenie
00 
5-49101-00 
48V - 400W
 
Kúrenie
01 
 
ŠKODA 120
 
Výdych
02 
 
Pr. 45 superflexcolor
 
Hadica
03 
 
017-05-0-001
 
Kryt
04 
 
 
Prepínač
05 
 
 
Svorkovnice
06 
 
 
Ventilátor
07 
C0040 
80V/400W
 
Vykurovacie teleso
07 
C0039 
48V/400W
 
Vykurovacie teleso
07 
 
48V/600W
 
Vykurovacie teleso
08 
 
 
Skriňa
09 
 
SW 80B-3 - 12V
 
Stykač kúrenia
10 
 
 
Odpor. ventil 12V/10A
Počet nájdených: 15 (Zobrazené 1 až 15)