desta@desta.sk
0948 88 55 01
Slovenský jazykNemecký jazykAnglický jazy
Fulltextové vyhladávanie
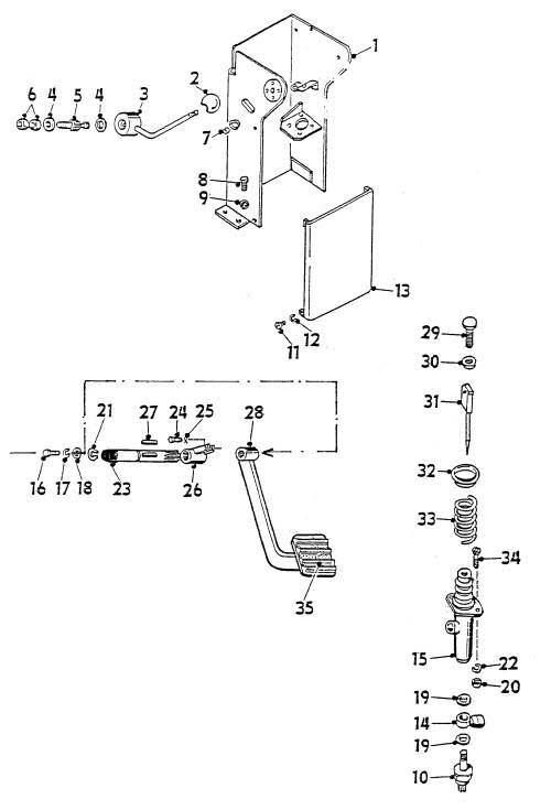
Stĺp riadenia 2 (hydraul.riadenie)
Zobrazenie náhradných dielov
Pozícia
Názov
Kat. číslo
Množstvo podľa modelu
Norma
 
01 
4-08505-15 
 
Stĺpik volantu
02 
 
ČSN 02 5181.21
 
Guľa 32
03 
4-01415-48 
 
Páka
04 
4-00903-35 
 
Podložka
05 
4-00462-02 
 
Skrutka
06 
 
ČSN 02 1403.25
 
Matica M 10
07 
4-02000-69 
 
Puzdro
08 
 
ČSN 02 1103.55
 
Skrutka M 8x22
08 
 
ČSN 02 1103.55
 
Skrutka M 8x22
09 
 
ČSN 02 1727.05
 
Podložka 9
10 
V 0101 
 
Brzdový spínač tlakový
11 
 
ČSN 02 1131.25
 
Skrutka M 8x12
12 
 
ČSN 02 1740.05
 
Podložka 8
13 
3-47155-00 
 
Kryt
14 
 
 
Staviteľná prípojka
15 
4-48536-05 
19 DESTA
 
Brzdový valec (úprava)
15 
4-48536-01 
HV 2203
 
Brzdový valec (úprava)
16 
 
ČSN 02 1103.25
 
Skrutka M 8x12
17 
 
ČSN 02 1740.05
 
Podložka 8
18 
4-00914-05 
 
Podložka
19 
 
ČSN 02 9310.2
 
Krúžok 12x16x1, 5
20 
 
ČSN 02 1403.25
 
Matica M 8
21 
 
ČSN 02 2930
 
Krúžok 20
22 
 
ČSN 02 1740.05
 
Podložka 8
23 
4-02746-05 
 
Hriadeľ
24 
4-45545-03 
 
Čap
25 
 
ČSN 02 1781.05
 
Závlačka 2,5 x16
26 
4-42585-00 
 
Páka
27 
 
ČSN 02 2562
 
Pero 6h 9x6x40
28 
4-09486-35 
 
Šlapka
Počet nájdených: 37 (Zobrazené 1 až 30)