desta@desta.sk
0948 88 55 01
Slovenský jazykNemecký jazykAnglický jazy
Fulltextové vyhladávanie
Chladenie
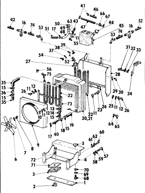
Zobrazenie náhradných dielov
Pozícia
Názov
Kat. číslo
Množstvo podľa modelu
Norma
 
01 
2-35795-00 
 
Lišta
02 
 
ČSN 02 1403.55
 
Matica M 16
03 
4-37308-00 
 
Doska
04 
2-38048-00 
 
Konzola chladiča
05 
4-34204-01 
 
Podložka
06 
2-39442-01 
 
Ventilátor
07 
 
ČSN 02 1740.05
 
Podložka 8
08 
 
ČSN 02 1103.25
 
skrutka M 8x20
09 
2-38224-00 
 
Kryt ventilátora
10 
 
ČSN 02 1103.25
 
Skrutka M 6x10
11 
 
ČSN 02 1740.05
 
Podložka 6
12 
 
ČSN 02 1726.15
 
Podložka 6,4
13 
 
 
Hadicová spona 50-70
14 
 
10.013.005
 
Hadica spodnej
15 
 
 
Hadicová spona 25-40
16 
4-38862-08 
 
Rozbočka
17 
 
 
Hadicová spona 32-50
18 
3-34054-01 
 
Koleno
19 
3-07382-21 
 
Hadica spodnej
20 
 
Z 1001
 
Chladič vody
21 
1-39435-00 
 
Chladič kompl.
22 
 
3-39436-00
 
Chladič oleja
23 
 
ČSN 02 1103.25
 
Skrutka M 6x40
24 
4-01178-10 
 
strmeň
25 
 
ČSN 02 1401.25
 
Matica M 6
26 
 
ČSN 02 1103.25
 
Skrutka M 6x10
27 
 
ČSN 02 1403.25
 
Matica M 22x1, 5
28 
3-38030-00 
 
Nosič chladiča
29 
 
ČSN 02 1726.15
 
Podložka 8,4
30 
 
ČSN 02 1103.25
 
Skrutka M 8x10
Počet nájdených: 74 (Zobrazené 1 až 30)