desta@desta.sk
0948 88 55 01
Slovenský jazykNemecký jazykAnglický jazy
Fulltextové vyhladávanie
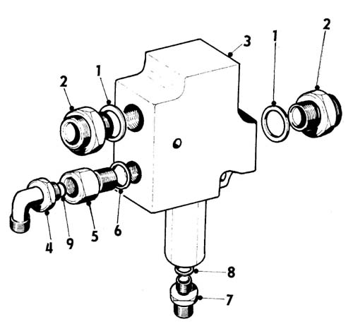
Prioritný ventil-pripojenie
Zobrazenie náhradných dielov
Pozícia
Názov
Kat. číslo
Množstvo podľa modelu
Norma
 
00 
3-38813-12 
 
Prioritné ventil - pripojenie
01 
 
ČSN 02 9310.2
 
Krúžok 27x32
02 
3-04021-42 
 
Hrdlo
03 
 
LS PSD 3.325-1
 
Ventil
04 
 
4-08155-16
 
Prípojka
05 
4-34020-02 
 
Hrdlo
06 
 
ČSN 02 9310.2
 
Krúžok 18x22
07 
4-34021-30 
 
Hrdlo
08 
 
ČSN 02 9310.2
 
Krúžok 12x16
09 
 
B 2575-057.550
 
Krúžok 11,3 x2, 4
Počet nájdených: 10 (Zobrazené 1 až 10)